Foshan Baijinyi Precise Technology Co., Ltd.
  • 
  • Inicio
  • Sobre nosotros +
  • Productos +
  • Aplicaciones
  • Capacidades
  • Videos
  • Contáctenos
Productos
  • Productos
  • Piezas de repuesto para moldes de soplado y sopladoras
  • Amortiguadores
SOLUCIONES DE HERRAMENTALES DE PRECISIÓN PARA MOLDES PLÁSTICOS
Moldes de soplado, moldes de inyección, moldes de inyección, moldes para tapas y componentes compatibles para sistemas de moldeo.

Amortiguadores para máquinas de moldeo por soplado

AmortiguadoresAmortiguadores

Los amortiguadores BJY cuentan con una gran capacidad de absorción de energía, larga vida útil y son ideales para absorber la energía generada por las partes móviles de la máquina de soplado rotatorias PET. Gracias a su gran capacidad de absorción de energía, durabilidad y bajo nivel de ruido, estos amortiguadores se han ganado la confianza y popularidad entre nuestros cliente para mantener el funcionamiento normal de las máquinas y alargar la vida de los moldes. BJY posee una plataforma de simulación profesional para demostrar el rendimiento de los amortiguadores durante una situación de choque real.

Formulario de consultas
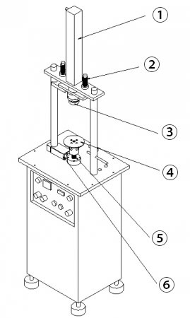
  • La plataforma de prueba para los amortiguadores La plataforma de prueba para los amortiguadores
Amortiguadores

Plataforma de pruebas

① Cilindro de aire
② Amortiguadores
③ Sensor de fuerza
④ Reflectores
⑤ Amortiguadores para ser testeados
⑥ Sensor de posición
Parámetros
CPBH09-M27X3-15
CPBH09-M27X3-15
Rosa de tornillo A M27X3
Amortiguador de recorrido 15 L(mm)
Aplicaciones Varilla de estirado de las máquinas de moldeo por soplado de Krones
CPBH10-M27X3-15
CPBH10-M27X3-15
Rosa de tornillo A M27X3
Amortiguador de recorrido 15 L(mm)
Aplicaciones Varilla de estirado de las máquinas de moldeo por soplado de Sidel
CPBH11-M27X3-10
CPBH11-M27X3-10
Rosa de tornillo A M27X3
Amortiguador de recorrido 10 L(mm)
Aplicaciones Moldes de las máquinas de moldeo por soplado Sidel
Accesorios y repuestos técnicos para moldes y máquinas de soplado
  • Barras de agujas
    Barras de agujas
  • Mangueras de refrigeración para máquinas de moldeo por soplado
    Mangueras de refrigeración para máquinas de moldeo por soplado
  • Vástagos o ejes de sujeción
    Vástagos o ejes de sujeción
  • Toberas o boquillas de soplado
    Toberas o boquillas de soplado
¿Buscas soporte integral para proyectos de moldes?

Conéctate con nosotros y descubre soluciones personalizadas en moldes de alta precisión.

Correo electrónico: coco.yang@baijinyi.cn
¿A qué nos dedicamos?
SOLUCIONES AVANZADAS EN HERRAMIENTAS PARA MOLDES PLÁSTICOS

Nos especializamos en el diseño y fabricación de moldes de soplado para máquinas de estirado soplado, y moldes de inyección para equipos de procesamiento de plástico.
También ofrecemos servicios de reacondicionamiento y modificación de moldes, así como el suministro de componentes estándar y personalizados compatibles con las principales marcas de máquinas de soplado, como: SIDEL, Krones, SIPA, KHS, SACMI, Tech-Long y Newamstar, y con máquinas de inyección como: Husky, Netstal, SIPA y Aoki.

Sobre nosotros
Otros productos
  • Piezas de repuesto para máquinas de llenado
  • Piezas de repuesto
  • Moldes de soplado
  • Moldes de inyección para preformas PET
  • Molde de tapas plástico
  • Área de mecanizado semiprecisoÁrea de mecanizado semipreciso
  • Centro de ensamblajeCentro de ensamblaje
  • Sistema de Medición Dimensional por Imagen KeyenceSistema de Medición Dimensional por Imagen Keyence
  • Máquina de Medición por Coordenadas Zeiss con una precisión de 0.002 mmMáquina de Medición por Coordenadas Zeiss con una precisión de 0.002 mm
  • Proyector óptico de alta resoluciónProyector óptico de alta resolución
Productos
  • Moldes de soplado
  • Moldes de inyección para preformas PET
  • Molde de tapas plástico
  • Piezas de repuesto para moldes de soplado y sopladoras
  • Piezas de repuesto para máquinas de llenado
  • Piezas de repuesto
Sobre nosotros
  • Resumen de la empresa
  • Perfil de la empresa
  • Servicio
  • Personalizado de moldes
  • Casos de estudio
  • Preguntas frecuentes
Enlaces Rápidos
  • Aplicaciones
  • Capacidades
  • Videos
Foshan Baijinyi Precise Technology Co., Ltd.
No.6 Yongye Rd, Sanshui District, Foshan City, Guangdong Province, P.R.China 528100
Mobile: +86 18813385179
coco.yang@baijinyi.cn
Supported by ETW International Inc. USA